Дверка котла КПа
Дверка котла Кпа — это фронтальное входное отверстие, которое устанавливается в топках водогрейных котлов.
В нашем интернет-магазине вы можете купить Дверка котла КПа по выгодной цене. Оформить заказ можно онлайн или по телефонам.
| Цена: | не указана |
Устройство и принцип работы
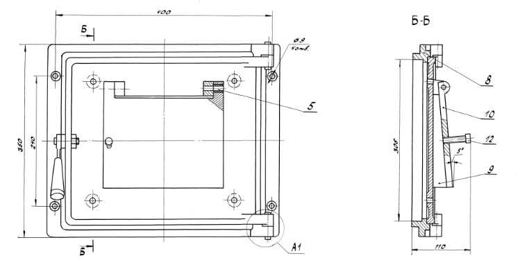
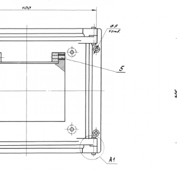
Дверка котла Кпа — это фронтальное входное отверстие, которое устанавливается в топках водогрейных котлов. Изготовлена из жаростойкого чугуна, обработана антикоррозийными средствами и оснащена отражателями для защиты от тепловых ударов. Дверка изолирует потоки горячего воздуха, предотвращает утечку тепловой энергии и блокирует проникновение едкого дыма, и ядовитых газов.
10 лет
на рынке
Описание достоинства
производственная
база
Описание достоинства
ассортимент
товаров
Описание достоинства
на все
товары
Описание достоинства
с выбором?
Дверка котла Кпа — это фронтальное входное отверстие, которое устанавливается в топках водогрейных котлов.
Рейка 00.4260.001 – деталь, необходимая для приведения шурующей планки в движение.
Звездочка 23.5769.001 — это металлическое цепное колесо, которое насаживается на вращающийся вал топки ТЛПХ, и приводит в движение колосниковое плотно.
Дверка котла КВ-300 — это фронтальное входное отверстие, которое устанавливается в топках водогрейных котлов серии КВр.















