Воздухоподогреватель ВП
Воздухоподогреватель ВП применяется для сушки топлива и улучшения процессов горения в топке котлов. Воздухоподогреватель является трубчатым, двухходовым по воздуху и газу. За счет повышения температуры в топке, снижается потеря тепла и повышается КПД котлов. Подходит для эффективного сжигания топлива высокой влажности.
В нашем интернет-магазине вы можете купить Воздухоподогреватель ВП по выгодной цене. Оформить заказ можно онлайн или по телефонам.
| Цена: | не указана |
Устройство и принцип работы
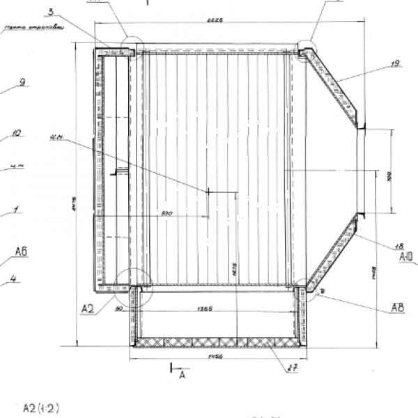
Воздухоподогреватель ВП — это конструкция из трубных пакетов в воздухоизоляционном каркасе. Чаще всего он используется промышленных котельных и печах для улучшения процессов горения в связи с повышением температуры в топке котла. Также может использоваться для сушки горючего путем направления горячего потока.
Воздухонагреватель представляет собой систему труб, расположенных шахмотнообразно, объединённых в секции. Принцип работы заключается в отработке газов котла, которые движутся направляются в трубы и нагревают воздух в межтрубном пространстве. Нагреты воздух направляется в топку, чем повышает температуру и способствует сжиганию топлива.
Условное обозначение
Воздухоподогреватель ВП-A — это воздухоподогреватель, где A — это площадь поверхности нагрева.
Особенности и преимущества
- Повышение КПД котла за счет снижения теплопотерь;
- Эффективное сжигание топлива повышенной влажности обеспечивается дополнительному нагреву воздуха;
- Устойчивость процесса горения в отличие от холодного дутья вентилятором.
Размещение и установка
Воздухоподогреватель ВП устанавливается в конце газового тракта.
Комплектация
Поставляется единым блоком в заводской сборке.
10 лет
на рынке
Описание достоинства
производственная
база
Описание достоинства
ассортимент
товаров
Описание достоинства
на все
товары
Описание достоинства
с выбором?
Воздухоподогреватель ВП применяется для сушки топлива и улучшения процессов горения в топке котлов. Воздухоподогреватель является трубчатым, двухходовым по воздуху и газу. За счет повышения температуры в топке, снижается потеря тепла и повышается КПД котлов. Подходит для эффективного сжигания топлива высокой влажности.
Термометр биметаллический L100 предназначен для измерения температуры газа, жидкости или пара.











