Вал передний в сборе 00.8091.001 (Т 192.02.000)
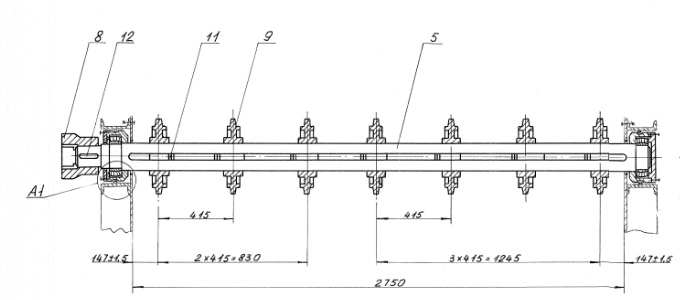
Вал передний в сборе 00.8091.001 (Т 192.02.000) используется для натяжения колосниковой решетки в топках ТЧЗМ с чешуйчатыми колосниками. Представляет собой стальной вал с насаженными шкивами, которые натягивают колосниковую решетку.
В нашем интернет-магазине вы можете купить Вал передний в сборе 00.8091.001 (Т 192.02.000) по выгодной цене. Оформить заказ можно онлайн или по телефонам.
| Цена: | не указана |
Особенности и назначение
Вал передний в сборе 00.8091.001 (Т 192.02.000)– цельнолитое, механически обработанное изделие из стали. Имеет форму цилиндра. Является ведущим. Работает в совокупности с другим валом – ведомым. Они поддерживают колосниковое полотно и придают ему натяжение. Также система позволяет двигаться колосниковой решетке.
На передний вал устанавливаются различные детали: звездочки, цепи полотна, полумуфта и корпусы, в которых располагаются подшипники.
Ведущий вал вращается приводом топки.
10 лет
на рынке
Описание достоинства
производственная
база
Описание достоинства
ассортимент
товаров
Описание достоинства
на все
товары
Описание достоинства
с выбором?
Вал передний в сборе 00.8091.001 (Т 192.02.000) используется для натяжения колосниковой решетки в топках ТЧЗМ с чешуйчатыми колосниками. Представляет собой стальной вал с насаженными шкивами, которые натягивают колосниковую решетку.
Колосники ведущие правые 00.1603.057 (Т 24.06.004) — это звенья колосниковой решетки, с помощью которых можно регулировать ее длину под размер топливной камеры.



















