Полотно топки ТЛПХ в сборе
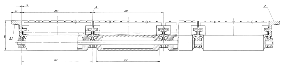
Полотно топки в сборе — это готовая колосниковая решетка с насаженными колосниками.
В нашем интернет-магазине вы можете купить Полотно топки ТЛПХ в сборе по выгодной цене. Оформить заказ можно онлайн или по телефонам.
| Цена: | не указана |
Особенности и назначение
Полотно топки в сборе – это система соединенных между собой колосников разного типа (крайних, ведущих, ведомых). Каждый элемент отливается из жаропрочного чугуна. Колосники нанизываются на соединительные стержни. А для крепления друг к другу имеют небольшие зубья. Конструкция получается не плотная – между деталями образуются щели, через которые подается воздух, и сбрасывается шлак.
10 лет
на рынке
Описание достоинства
производственная
база
Описание достоинства
ассортимент
товаров
Описание достоинства
на все
товары
Описание достоинства
с выбором?
Полотно топки в сборе — это готовая колосниковая решетка с насаженными колосниками.
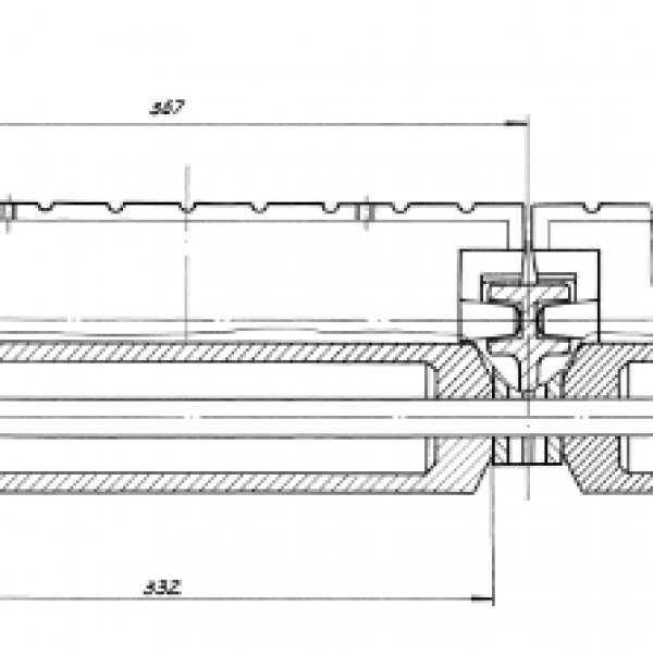
Колосники ведущие 23.1603.008 (080) — звенья колосниковой решетки, из которых собирается цельное полотно.
Противонакипный аппарат УПА-М2 используется для бесконтактной очистки от накипи котельного оборудования и обеспечения его дальнейшей безнакипейной работы. Не требует использования химикатов, не оказывает негативного влияния на металл. Дает высокий результат очистки оборудования от осадков, позволяя исключить водоподгототовку и поддерживать высокий КПД котлов.
Валик соединительный 00.4105.013 (401.4.05) — это стальной стержень, предназначенный для скрепления цепей колосниковой решетки, на которые крепятся держатели колосников.

















