Оправа ОПТ
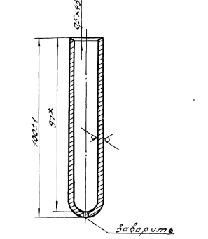
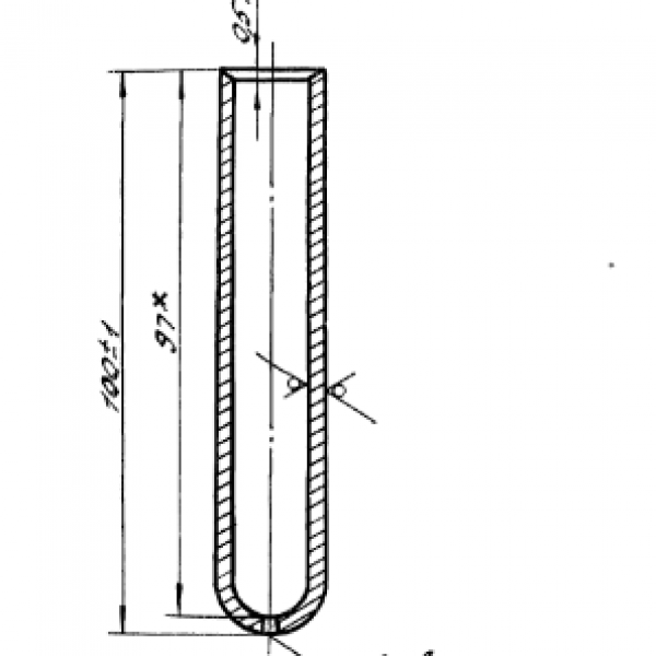
Оправа для термометра ОПТ защищает технические термометры в процессе эксплуатации.
В нашем интернет-магазине вы можете купить Оправа ОПТ по выгодной цене. Оформить заказ можно онлайн или по телефонам.
| Цена: | не указана |
Особенности термометра ОПТ
Оправа для термометра ОПТ защищает технические термометры в процессе эксплуатации. Она производится из специализированной жаростойкой стали, которая может использоваться при высоких температурах — до 500 °C. Конструкционно оправа состоит из двух частей — трубка, изогнутой под углом 90° с окном для термометра, и сварного резьбового штуцера.
10 лет
на рынке
Описание достоинства
производственная
база
Описание достоинства
ассортимент
товаров
Описание достоинства
на все
товары
Описание достоинства
с выбором?
Оправа для термометра ОПТ защищает технические термометры в процессе эксплуатации.
Жидкотопливная ротационная форсунка является основной деталью в устройстве горелок типа РГМ и РГМГ. Она используется для распыления жидкого топлива в топку котла.
Колосник 910x210 — составной элемент колосниковой решетки, предназначенный для равномерного и эффективного сжигания топлива. Отверстия между колосниками в решетке обеспечивают тягу, что позволяет регулировать мощность и длительность пламени.
